
Groundwater Flow Concepts for Supply Wells in the Marcellus Shale Region
Explore illustrations depicting groundwater flow concepts for supply wells in the Marcellus Shale region and the Appalachian Plateau. The visuals showcase groundwater flow patterns and examples of community water system source protection areas. Gain insights into the intricate network of groundwater movement essential for understanding water resource management in this geological setting.
Download Presentation

Please find below an Image/Link to download the presentation.
The content on the website is provided AS IS for your information and personal use only. It may not be sold, licensed, or shared on other websites without obtaining consent from the author. If you encounter any issues during the download, it is possible that the publisher has removed the file from their server.
You are allowed to download the files provided on this website for personal or commercial use, subject to the condition that they are used lawfully. All files are the property of their respective owners.
The content on the website is provided AS IS for your information and personal use only. It may not be sold, licensed, or shared on other websites without obtaining consent from the author.
E N D
Presentation Transcript
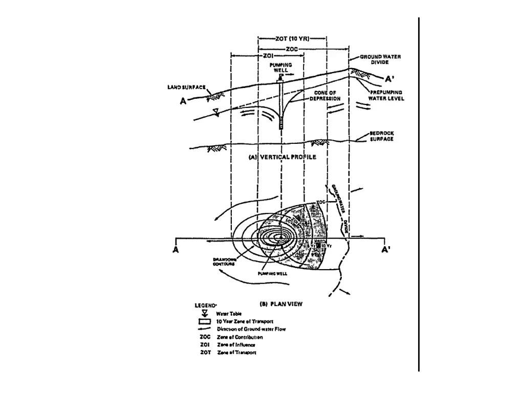
Illustrations of Groundwater Flow concepts for Supply Wells For Marcellus Shale Commission March 10, 2014
Groundwater Flow in Appalachian Plateau
Example community water system source protection area